中国腐蚀与防护学报  2015 , 35 (5): 393-399 https://doi.org/10.11902/1005.4537.2014.196

油田输油管线钢X65的腐蚀行为研究

刘栓12, 赵霞1, 陈长伟1, 侯保荣1, 陈建敏2

1. 中国科学院海洋研究所 海洋环境腐蚀与生物污损重点实验室 青岛 266071
2. 中国科学院宁波材料技术与工程研究所 海洋新材料与应用技术重点实验室 宁波 315201

Corrosion Behavior of Pipeline Steel X65 in Oilfield

LIU Shuan12, ZHAO Xia1, CHEN Changwei1, HOU Baorong1, CHEN Jianmin2

1. Key Laboratory of Marine Environmental Corrosion and Bio-fouling, Institute of Oceanology, Chinese Academy of Sciences, Qingdao 266071, China
2. Key Laboratory of Marine Materials and Related Ningbo Technologies, Institute of Materials Technologies and Engineering, Chinese Academy of Sciences, Ningbo 315201, China

中图分类号:  TG174.3

通讯作者:  通讯作者:赵霞,E-mail:zx@qdio.ac.cn,研究方向为海洋腐蚀与防护

接受日期:  2014-12-02

网络出版日期:  --

版权声明:  2015 《中国腐蚀与防护学报》编辑部 版权所有 2014, 中国腐蚀与防护学报编辑部。使用时,请务必标明出处。

基金资助:  国家科技支撑重点项目 (2012BAB15B01) 和中国科学院海洋新材料与应用技术重点实验开放基金项目 (LMMT-KFKT-2014-008) 资助

作者简介:

刘栓,男,1986年生,博士生

展开

摘要

研究了胜利埕岛油田用X65管线钢的管内腐蚀和管外腐蚀行为。通过失重法和电化学测试手段研究了油田中油水混合物流速和油含量对X65钢输油管线钢管内腐蚀行为的影响规律。采用动电位极化曲线和电化学阻抗谱研究了X65钢在土壤渗出液中的管外腐蚀行为,并结合X射线衍射技术 (XRD) 和扫描电镜 (SEM) 技术对X65钢腐蚀产物的晶型和形貌进行了分析。结果表明:X65钢的腐蚀速率随油水混合物流速的增加而增大,当油含量为5% (质量分数) 时,其腐蚀速率最大;X65钢在土壤渗出液中的自腐蚀电流密度随浸泡时间的延长而增大,表面生成的疏松腐蚀产物膜会加速阴极去极化反应。

关键词: X65管线钢 ; 腐蚀行为 ; 土壤渗出液 ; 流速 ; 油含量

Abstract

The inner- and outer-surface corrosion behavior of X65 pipeline steel used in Shengli Chengdao oilfield was studied in this paper. The inner surface corrosion behavior of X65 pipeline steel in oil-water mixtures with different flow rate and oil content was examined by means of mass loss method and electrochemical technique. The corrosion resistance of the outer surface of X65 pipeline steel in soil extracts was also examined by means of polarization curves and electrochemical impedance spectroscopy (EIS). The phase constituents and surface morphology of corrosion products were characterized by using X-ray diffraction techniques (XRD) and scanning electron microscopy (SEM), respectively. The results indicated that the corrosion rate of X65 steel increased with the increasing flow rate of oil-water mixture, which could reach the maximum value when the oil content was 0.5% (mass fraction). The corrosion current density of X65 steel increased with immersion time in soil extracts. A loose corrosion product film formed on the steel surface, which can accelerate the cathodic depolarization reaction.

Keywords: X65 pipeline steel ; corrosion behavior ; soil extract ; velocity ; oil content

0

PDF (3032KB) 元数据 多维度评价 相关文章 收藏文章

本文引用格式 导出 EndNote Ris Bibtex

刘栓, 赵霞, 陈长伟, 侯保荣, 陈建敏. 油田输油管线钢X65的腐蚀行为研究[J]. , 2015, 35(5): 393-399 https://doi.org/10.11902/1005.4537.2014.196

LIU Shuan, ZHAO Xia, CHEN Changwei, HOU Baorong, CHEN Jianmin. Corrosion Behavior of Pipeline Steel X65 in Oilfield[J]. 中国腐蚀与防护学报, 2015, 35(5): 393-399 https://doi.org/10.11902/1005.4537.2014.196

1 前言

胜利海上油田处于渤海湾南部的极浅海域,其范围为:西起四女寺河口,经套儿河口、老黄河口、新黄河口、小青河口,东到潍河口,海岸长414 km,胜利矿产登记线内面积4870 km2,水深一般0~5 m,最深18 m。1992年开始试采,是我国浅海海域最大的油田[1,2]。在海上油田开发和开采过程中,随着原油采出液中水含量的大幅上升,采出液对集输管线和设备的腐蚀问题不可避免。现阶段,有关油田采出液对集输管线和设备腐蚀的研究,多集中在采出液中污水组分对金属腐蚀的影响,而有关水中原油组分和流速对管线钢内腐蚀影响的研究较少[3]。Aprael等[4]发现X65钢在原油采出液的腐蚀速率随着温度、醋酸浓度和流速的增大而升高,X65钢表面生成的FeCO3可以有效抑制CO2腐蚀。Zhang等[5]研究表明,原油采出液中溶解氧的传质扩散过程对金属腐蚀阴极去极化过程至关重要,同时采出液中的泥沙会加速破坏金属表面新生成的氧化物膜和吸附的油膜,加速金属管道腐蚀。研究[6]表明,X65钢在油田采出水中主要发生均匀腐蚀,X65钢腐蚀主要受阴极反应过程控制,醋酸可以促进阴极去极化过程,同时醋酸能够溶解X65钢表面生成的腐蚀产物膜,加速X65钢的腐蚀。CO2和醋酸的混合液协同加速X65钢的腐蚀。

为明确不同内外环境条件下输油管线X65钢的腐蚀规律,本研究以胜利油田采出原油为腐蚀介质,重点研究油含量和流速对X65钢腐蚀行为的影响。同时对管线外部土壤进行取样,分析X65钢在土壤浸出液中的耐蚀性能,并对样品的腐蚀产物晶型和形貌进行了分析,进一步阐明腐蚀机理。本研究对油田输油管线服役过程监测及服役寿命预测具有一定的参考价值。

2 实验方法

2.1 材料和试样准备

实验所用材料为油田集输管道常用X65管线钢,其化学成分 (质量分数,%) 为:C 0.05~0.07,Mn 1.31~1.36,Si 0.45,S 0.01,P 0.02,Fe余量。用切割机把试样加工成2 cm×2 cm×1 cm的方块,一端用Cu导线连接,保留工作面积为1 cm2,其余部分用环氧树脂固封,在电化学测试前用60~1000#SiC水砂纸对样品表面进行逐级打磨、双蒸水清洗、丙酮除油后放置在干燥器中待用。

2.2 原油乳状液和土壤浸出液的配制

原油乳状液的配制:采用乳化分散机将不同质量分数的水相和胜利埕岛脱水原油高速分散所得,分散速度为6000 r/min,分散时间为10 min,采用数码显微镜观察乳状液的微观形态。

土壤浸出液的配制:胜利埕岛油田位于渤海湾南部的极浅海域,将现场所取土样经充分混合后,用四分法留取土样约1 kg作为实验用土。将蒸馏水与土样充分混合,静置7 d后取上清液进行电化学实验。土壤浸出液主要性质为:盐度33.26‰~35.38‰,溶解氧6.25~7.01 mg/L, pH值7.27~8.92。

2.3 测试方法

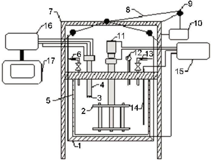
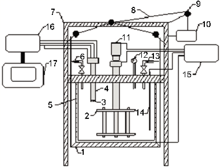
失重法:采用中国石油天然气行业标准SY/T5273-2000《油田采出水用缓蚀剂性能评价方法》进行实验,实验装置如图1所示。取尺寸为4 cm×3 mm×1 cm的X65管线钢块3块作为平行试样。14 d后取出,用蒸馏水清洗,除锈,干燥,称重,按照下式计算腐蚀速率υcorr(mm/a):

υcorr=8.86×104×(ω-ω0)/(A×T×ρ)

式中,ω0ω分别为挂片腐蚀前后的质量 (g),A为挂片的表面积 (m2),T为腐蚀时间 (h),ρ为试样的相对密度 (g/cm3)。

图1   腐蚀实验装置图

Fig.1   Schematic diagram of the corrosion test cell (1-Base tray, 2-X65 steel, 3-Electrode, 4- Probe, 5-Heater, 6-Air vent, 7-Holder, 8-Wire line, 9-Pulley, 10-Turbine reducer, 11- Power machine, 12-Pressure gauge, 13-Air inlet, 14-Thermocouple, 15-Autoclave, 16- Electrochemical monitor, 17-Computer)

采用PARSTAT 2273电化学测量系统对X65钢进行极化曲线和电化学阻抗谱 (EIS) 测试,以带盐桥的饱和甘汞电极 (SCE) 为参比电极,Pt电极为辅助电极,X65钢为工作电极。极化曲线测量:扫描速率为0.5 mV/s,幅值为±250 mV (vs OCP),分析软件为PowerSuite。EIS测量:正弦波电位幅值为10 mV,频率扫描范围为100 kHz~10 mHz,采用ZSimpWin软件结合等效电路解析实验结果,所有电化学测试在室温下 (23~25 ℃) 进行。采用D8Advance型X射线衍射仪 (XRD) 和KYKY-2800B型扫描电镜 (SEM) 对试样表面生成腐蚀产物的晶型和形貌进行分析。

3 结果与讨论

3.1 油含量和流速对X65钢管内腐蚀行为的影响

采用失重法研究了油含量和流速对X65钢管内腐蚀行为的影响。由图2可知,当流速一定,油含量为5% (质量分数) 时,X65钢的管内腐蚀速率最大;油含量不变时,X65钢管内腐蚀速率随流速增加而逐渐增大。这是因为流速增加会使得金属表面腐蚀后的产物向油水混相体系分散加快,也会增加溶解氧等腐蚀性气体向金属表面扩散的速度,进而加快金属的阴极去极化过程[7]

图2   不同油含量和流速对X65钢腐蚀速率的影响

Fig.2   Effects of oil content and velocity of oil emulsion on corrosion rate of X65 steel

在同等流速下,随着原油含量的增加X65钢腐蚀速率呈降低趋势。这是由于体系中只有油水两相的条件下,水中乳化状态的原油较少,水中分散的油珠易聚集在固体表面,从而降低金属与水的接触面积。当油含量为5%时,X65钢的腐蚀速率高于在纯水相和其他介质相中的。这是由于当体系中原油含量较少时 (图3a),分散后的油珠粒径小,油珠间距较大,在金属表面呈分散性吸附。这种分散性吸附,油层很薄且相距较远,对腐蚀产物在水中的扩散阻止作用较弱,但却可以增加溶解氧在金属表面的扩散,因而少量原油的加入加速了金属的腐蚀。当体系中原油含量较多时 (图3b和c),分散后的油珠粒径变大,油珠间距减少,在金属表面呈片状吸附。这种片状吸附油层较厚且相距很近,可有效阻止腐蚀产物在水中的扩散,溶解氧往金属表面的扩散速率也会减弱,因而金属腐蚀速率降低[8]

图3   不同油相质量分数的乳状液在X65钢表面的吸附形貌

Fig.3   Surface microscopic images of X65 steel after adsorption of 5% (a), 10% (b) and 50% (c) oil phase in mass fraction

图4是X65钢在不同油含量溶液中浸泡2 d后的动电位极化曲线。当油含量不同时,阴极极化曲线的斜率均大于阳极极化曲线的,说明X65钢腐蚀主要受阴极氧还原控制。随着油含量的增加,X65钢的自腐蚀电位逐渐负移,阴极极化率逐渐减小,表明少量原油有利于阴极去极化过程;同时,X65钢的自腐蚀电流密度逐渐增大,说明少量原油 (<5%) 加速了X65钢的腐蚀速率。极化曲线结果与失重实验结果基本一致。

图4   X65钢在不同油含量溶液中浸泡2 d后的Tafel极化曲线

Fig.4   Tafel polarization curves of X65 steel after immersion for 2 d in the solution containing 0% (a), 0.5% (b) and 1% (c) oil

3.2 X65钢在土壤浸出液中的腐蚀行为

3.2.1 EIS分析 图5是X65钢在土壤浸出液中浸泡不同时间的Nyquist图和Bode图。在浸泡初期 (1~7 d),X65钢在测量频率范围 (105~10-2 Hz) 内只有一个容抗弧,其对应的等效电路如图6a所示。当浸泡到14 d后,在Bode曲线上表现出两个时间常数,其中高频区出现半径较小容抗弧,对应于X65钢表面的腐蚀产物信息,与腐蚀产物的致密性和厚度相关;中低频区呈现一段半径较大容抗弧,对应于X65钢表面的电化学腐蚀反应信息,与试样和溶液界面的电荷转移行为相关,其对应的等效电路如图6b所示[9,10]

图5   X65钢在土壤浸出液中浸泡不同时间的EIS谱

Fig.5   Nyquist (a, c) and Bode (b, d) plots of X65 steel after immersion in soil extract for different time

图6   X65钢在土壤浸出液中浸泡不同时间的等效电路图

Fig.6   Equivalent circuits of X65 steel immersed for different time in soil extract: (a) one timeconstant, (b) two time constant

在等效电路中,Q表示常相位角元件。其中,QfRf代表腐蚀产物膜电容和膜电阻,Qdl代表X65钢与土壤浸出液间的双电层电容,n为常相位角指数,表征弥散效应程度,本实验中n的范围在0.84~0.97。Rs为土壤浸出液的溶液电阻,Rct为X65钢腐蚀反应的电荷转移电阻[11]

X65钢在土壤浸出液中浸泡不同时间拟合所得到的电化学参数见表1。结合图表可知,溶液电阻Rs基本不变,在浸泡初期 (1~7 d),容抗弧的半径和相位角均逐渐减小,其对应的电荷转移电阻Rct值逐渐降低,说明X65钢在土壤浸出液中的耐蚀性能减弱。在浸泡中后期 (7~28 d),在高频区逐渐形成一个新的容抗弧,且容抗弧的半径和相位角均逐渐增大,Rf从17.2 Ωcm2增大到85.8 Ωcm2,说明腐蚀产物膜的厚度逐渐增大。但中低频区的容抗弧半径继续减小,Rct从浸泡初期的1943.8 Ωcm2降低到856.3 Ωcm2,说明X65钢在土壤浸出液中的腐蚀速率逐渐加快。

表1   X65钢在土壤浸出液中浸泡不同时间的EIS拟合数据

Table 1   EIS fitting parameters of X65 steel after various immersion time in soil extract

Time / dRs / Ωcm2Qf / μFcm-2n1Rf / Ωcm2Qdl / μFcm-2n2Rct / Ωcm2
11.01---------501.20.841943.8
31.45---------421.50.871627.2
71.62---------351.20.841214.3
101.36---------346.20.861108.4
141.916.910.8317.2127.10.761026.1
211.493.220.9635.2114.10.97923.2
241.565.650.8464.5105.50.84856.3
281.052.880.9685.8258.30.93693.6

新窗口打开

3.2.2 Tafel极化曲线分析 图7是X65钢在土壤浸出液中不同浸泡周期的动电位极化曲线。从极化曲线Tafel区拟合得到的腐蚀电流密度 (Icorr) 可以直接反映试样的腐蚀速率[12],拟合得到的腐蚀参数见表2。随着浸泡时间的延长,X65钢的自腐蚀电位 (Ecorr) 逐渐负移,Icorr从8.65 μAcm-2逐渐增大到76.30 μAcm-2,说明X65钢的耐蚀性能逐渐减弱。X65钢试样阴极极化曲线的斜率 (βc) 比阳极的 (βa) 大,说明阳极过程不是腐蚀的控制步骤,而阴极主要为氧还原过程,是X65钢在土壤浸出液中腐蚀的控制步骤[13]βa随着浸泡时间的延长变化不大,而βc逐渐减小,说明腐蚀产物在X65钢表面的形成和吸附,促进了阴极氧还原过程,进而加快了X65钢的腐蚀速率。Tafel分析结果与EIS的基本相同。

图7   X65钢在土壤浸出液中浸泡不同时间的Tafel极化曲线

Fig.7   Tafel polarization curves of X65 steel after immersion in soil extract for different time

表2   X65钢在土壤浸出液中浸泡不同时间的Tafel拟合数据

Table 2   Tafel fitted parameters of X65 steel after immersion in soil extract for different time

Time
d
Ecorr
V (vs SCE)
Icorr
μAcm-2
βc
mVdec-1
βa
mVdec-1
2-0.7258.65-331.968.3
7-0.73211.50-281.374.9
14-0.79639.30-151.783.7
28-0.81376.30-96.895.4

新窗口打开

3.2.3 X65钢在不同浸泡时间的腐蚀产物和形貌分析 图8是X65钢在土壤浸出液中浸泡不同时间的XRD谱。在浸泡初期 (7 d),X65钢表面生成的主要腐蚀产物为Fe3O4,Fe2O3和FeOCl。当浸泡时间延长到28 d后,腐蚀产物衍射峰的强度逐渐增大,初期生成的FeOCl转化为FeCl2。图9是X65钢在土壤浸出液中浸泡不同时间的SEM像。在浸泡前,X65钢表面打磨光滑,表面平整几乎没有腐蚀现象发生;随着浸泡时间的延长,电极表面颜色逐渐加深并有腐蚀坑产生,且腐蚀产物在试样表面累积,形成一层较厚疏松的腐蚀产物膜。疏松多孔的腐蚀产物有利于吸附土壤浸出液中的溶解氧,从而促进阴极氧去极化反应,这与电化学测试结果一致[14,15]

图8   X65钢在土壤浸出液中浸泡不同时间的XRD谱

Fig.8   XRD patterns of X65 steel after immersion in soil extract for 7 d (a) and 28 d (b)

图9   X65钢在土壤浸出液中浸泡不同时间表面形貌的SEM像

Fig.9   SEM images of X65 steel after immersion in soil extract for 0 d (a), 7 d (b), 14 d (c) and 28 d (d)

4 结论

(1) 当油含量为5%时,X65管线钢的腐蚀速率最大;X65钢的腐蚀速率随着流速的增加而增大。

(2) 随着浸泡时间的延长,X65管线钢在土壤浸出液中的自腐蚀电位逐渐负移,自腐蚀电流密度逐渐增大。

(3) X65钢在土壤浸出液中的腐蚀产物主要为 Fe3O4,Fe2O3和FeCl2,随着时间的延长,疏松多孔的腐蚀产物膜会促进阴极去极化反应,加快了X65钢的腐蚀。


/